BMW va reedita celebrul concept de scuter C1 cu acoperiș și îl va înzestra cu airbaguri și cu elemente active de siguranță. De ce este special viitorul scuter electric BMW.
Unii dintre noi își amintesc vehiculul neobișnuit BMW C1, care, între 2000 și 2002, își afișa acoperișul prin trafic. Un scuter în care nu te ploua (dacă nu bătea vântul, firește). Ideea a fost excepțională, vehiculul fiind, de fapt, un hibrid între o motocicletă și un autoturism: avea acoperiș, scaun de mașină și o centură de siguranță în 4 puncte, drept urmare forma o celulă de siguranță după exemplul uneia de autoturism, dar avea o lățime de scuter și rula pe două roți, și astfel nu renunța la niciun avantaj de mobilitate.
➡ Video: aceasta este trotineta autonomă! 💡
Din păcate, conceptul nu a prins, din cauza unor țări care nu permiteau utilizarea căștii împreună cu centura de siguranță: în cazul unei căzături, greutatea mare a căștii putea pune presiune pe gâtul riderului prins de scuter, provocându-i leziuni cerebrale. Dacă unele piețe au scutit proprietarii de BMW C1 de la purtarea căștii, altele (Marea Britanie și Suedia sunt cele mai celebre exemple) n-au făcut-o, așa că, după cele 10.614 unități vândute în 2001, BMW a încetat producția din cauza vânzărilor proaste din 2002: numai 2.000 de unități.
Un clasic… futurist: viitorul scuter electric BMW
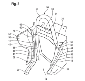
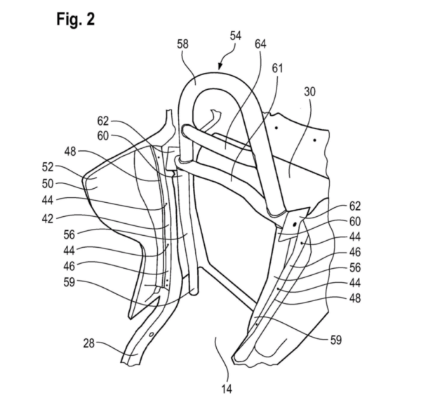
Însă, după două decenii, bavarezii se pregătesc să mai bage o monedă în aparatul numit ”mobilitate urbană”, reeditând celebrul scuter C1. Firește, îl vor aduce în rând cu vremurile în care trăim: BMW a prezentat schițele structurii viitoarei generații, care va avea 40 de zone de deformare controlată la impact, o bună parte dintre ele fiind situate pe suprastructura din carbon. Aceste zone pot fi înlocuite individual în caz de accident, permițând proprietarului să-și repare ”punctual” scuterul.
Suprastructura din carbon va scădea greutatea totală și va coborî centrul de greutate. Două airbaguri laterale vor proteja riderul la impact lateral, iar un al treilea se va umfla în spatele scaunului, la impactul posterior. De asemenea, se pare că suprastructura va fi detașabilă, permițând proprietarului să transforme viitorul model într-un scuter clasic. În afara faptului că va avea propulsie electrică, nimic nu se cunoaște despre motorul viitorului scuter.
Dar… un singur loc? Vom vedea ce părere au soțiile viitorilor posesori!
via electrek






Comentați?